用于安装于各种管路上,作为双向闭路设备使用。广泛应用于自来水、污水处理、冶金石油、建筑、化工、电力等行业。
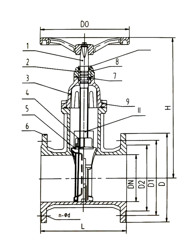
Z45X暗杆弹性座封闸阀特点:
1、防尘圈加三道“O”型密封圈设计,密封可靠,可在线更换。
2、闸板包胶、耐腐蚀、密封性好。
3、阀体采用无闸槽三个户,通道平滑,不会造成杂物淤积,更适用于污水工况。
4、整体密封可靠。
5、体积小,重量轻,便于安装和维修


Z45X暗杆弹性座封闸阀主要技术参数
公称压力:1.0~2.5MPa
公称通径:50~400mm
工作温度:0~120℃
适用介质:水、油、气等
法兰标准:GB/T 17241.6(铸铁) GB/T 9113.1(铸钢)
试验标准:GB/T 13927
Z45X暗杆弹性座封闸阀主要性能参数
压力等级 1.0MPa、 1.6MPa、 2.5MPa
阀体耐压 1.5MPa、 2.4MPa、 3.75MPa
密封试验 1.1MPa、 1.76MPa、 2.75MPa
工作温度 ≤100℃
适用介质 水、污水等
